Industrial Automation


| Product properties | Product type: Safety device Application: Over-speed safety relay Zero-speed safety relay Insulation characteristics Protection class: III Times Response time: see user manual Restart time: min. 5 s (Boot time) max. 10 s (Boot time) |
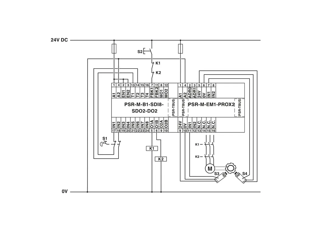
| Electrical properties | Maximum power dissipation for nominal condition: 2.18 W (UBÃ=Ã28,8ÃV, IN1Ã=ÃIN2Ã=Ã50ÃmA) Nominal operating mode: 100% operating factor Interfaces: DIN rail TBUS for connection to the master module, supplied as standard Proximity switches Air clearances and creepage distances between the power circuits Rated insulation voltage: 250 VÃAC Rated surge voltage/insulation: Basic insulation 4ÃkV between 24ÃV power supply and I/Os to the housing Supply Designation: A1/A2 Rated control circuit supply voltage US: 19.2 VÃDC ... 28.8 VÃDC 24 VÃDC -20Ã%Ã/Ã+20Ã% (provide external protection, typically 200ÃmA) Rated control supply current IS: typ. 35 mA Power consumption at US: typ. 0.84 W Inrush current: 3.5 A (ÃâtÃ=Ã1Ãms at Us) Filter time: typ. 20 ms (at A1 in the event of voltage dips at Us) Protective circuit: Serial protection against polarity reversal Suppressor diode |
| Input data | Measurement Input name: Proximity switch inputs IN1, IN2 Description of the input: NPN / PNP (3- or 4-wire) Number of inputs: 2 Input voltage range "0" signal: 0 VÃDC ... 5 VÃDC (NPN) 16 VÃDC ... 28.8 VÃDC (PNP) Input voltage range "1" signal: 16 VÃDC ... 28.8 VÃDC (NPN) 0 VÃDC ... 5 VÃDC (PNP) Input current range "0" signal: < 2 mA (NPN) Precision: 5 % (in reference to the parameterized limit value) Limit frequency: max. 5 kHz Max. permissible overall conductor resistance: 150 é Protective circuit: Suppressor diode Current consumption: typ. 13 mA (NPN, at US) typ. -13 mA (PNP, at Us) max. 17 mA (NPN, at 28.8ÃVÃDC) max. -15 mA (PNP, at 28.8ÃVÃDC) |
| Output data | Digital: Proximity switch supply (24V/0V) Short-circuit protection: no Nominal output voltage range: 16.7 VÃDC ... 26.3 VÃDC (USÃ-Ã2,5ÃV) |
| Connection data | Connection technology pluggable: yes Conductor connection Connection method: Screw connection Conductor cross section rigid: 0.2 mm² ... 2.5 mm² Conductor cross section flexible: 0.2 mm² ... 2.5 mm² Conductor cross-section AWG: 24 ... 12 Stripping length: 7 mm Screw thread: M3 Tightening torque: 0.5 Nm ... 0.6 Nm |
| Signaling | Status display: 4ÃxÃLED (yellow), 1ÃxÃLED (green), 2ÃxÃLED (orange) Operating voltage display: 1 x green LED Error indication: 2ÃxÃLED (red) |
| Dimensions | Width: 22.61 mm Height: 112.58 mm Depth: 113.6 mm |
| Material specifications | Housing material: Polyamide PA non-reinforced |
| Characteristics | Safety data: ENÃISOÃ13849 Category: 3 Performance level (PL): e Safety data: IEC 61508 - High demand Safety Integrity Level (SIL): 3 Safety data: ENÃIEC 62061 Safety Integrity Level (SIL): 3 |
| Environmental and real-life conditions | Ambient conditions Degree of protection: IP20 Min. degree of protection of inst. location: IP54 Ambient temperature (operation): -10°C ... 55°C (observe derating) Ambient temperature (storage/transport): -20°C ... 85°C Maximum altitude: ââ°¤ 2000 m (Above sea level) Max. permissible humidity (storage/transport): 95 % (non-condensing) Max. permissible relative humidity (operation): 95 % (non-condensing) Shock: 10g for ÃâtÃ=Ã16Ãms (continuous shock, 1000 shocks in each space direction) Vibration (operation): 10ÃHzÃ...Ã150ÃHz, 2g |
| Approvals | CE Identification: CE-compliant |
| Mounting | Mounting type: DIN rail mounting Assembly instructions: Observe derating Mounting position: vertical or horizontal Connection method: Screw connection |
Description other products
